Audi A8 2019 Accessories



"2015 Audi A8 Limps In With Same Old Man Design But Adds , 2019 Audi Q8 Spied Fully Exposed QuattroWorld, 2020 Audi A Mercedes Benz E 450 Sedan AutoGuide com, Audi S8 D4 Front Lip 2013 Body Kit D4 2010 , Audi Ain Savini SV48m Wheels exclusively from , 2019 Airspeed S Line Carbon Fiber Rearview Mirror Sticker , THE ABT AUDI RS3 450 INDIVIDUAL QuattroWorld, Used Audi Q5 TDI Quattro S Line 2019 for sale in , B8 Audi RS4 sedan renderings QuattroWorld, Used Audi A4 TDI Black Edition 2019 for sale in Chelmsford , Front mud flaps S line Comfort Protection, Used Audi A6 TDI Quattro S Line 2019 for sale in Watford , Used Audi TT TFSI Black Edition 2019 for sale in , Storage > Interior > Comfort protection > Accessories , 2019 Q7 > Q7 > Audi Canada, Ford Escape S Katzkin Leather Seats , A CLASS W176 Revozport Spoiler Rexsupersport "

2015 Audi A8 Limps In With Same Old Man Design But Adds

2015 Audi A8 Limps In With Same Old Man Design But Adds

2019 Audi Q8 Spied Fully Exposed Quattroworld

2019 Audi Q8 Spied Fully Exposed Quattroworld

2020 Audi A6 Vs 2019 Mercedes Benz E 450 Sedan Autoguide Com

2020 Audi A6 Vs 2019 Mercedes Benz E 450 Sedan Autoguide Com

Audi S8 D4 Front Lip 2013 Body Kit D4 2010

Audi S8 D4 Front Lip 2013 Body Kit D4 2010

Audi A8 With 22in Savini Sv48m Wheels Exclusively From

Audi A8 With 22in Savini Sv48m Wheels Exclusively From

2019 Airspeed S Line Carbon Fiber Rearview Mirror Sticker

2019 Airspeed S Line Carbon Fiber Rearview Mirror Sticker

The Abt Audi Rs3 450 Individual Quattroworld

The Abt Audi Rs3 450 Individual Quattroworld

Used Audi Q5 Tdi Quattro S Line 2019 For Sale In

Used Audi Q5 Tdi Quattro S Line 2019 For Sale In

B8 Audi Rs4 Sedan Renderings Quattroworld

B8 Audi Rs4 Sedan Renderings Quattroworld

Used Audi A4 Tdi Black Edition 2019 For Sale In Chelmsford

Used Audi A4 Tdi Black Edition 2019 For Sale In Chelmsford

Front Mud Flaps S Line Comfort Amp Protection

Front Mud Flaps S Line Comfort Amp Protection

Used Audi A6 Tdi Quattro S Line 2019 For Sale In Watford

Used Audi A6 Tdi Quattro S Line 2019 For Sale In Watford

Used Audi Tt Tfsi Black Edition 2019 For Sale In

Used Audi Tt Tfsi Black Edition 2019 For Sale In

Storage Gt Interior Gt Comfort Amp Protection Gt Accessories

Storage Gt Interior Gt Comfort Amp Protection Gt Accessories

2019 Q7 Gt Q7 Gt Audi Canada

2019 Q7 Gt Q7 Gt Audi Canada

Ford Escape S Katzkin Leather Seats 2017 2018 2019

Ford Escape S Katzkin Leather Seats 2017 2018 2019

A Class W176 Revozport Spoiler Rexsupersport

A Class W176 Revozport Spoiler Rexsupersport

Audi A8l With 22in Tsw Oslo Wheels Exclusively From Butler

Audi A8l With 22in Tsw Oslo Wheels Exclusively From Butler

Golf Mk7 Revozport Rear Diffuser Rexsupersport

Golf Mk7 Revozport Rear Diffuser Rexsupersport

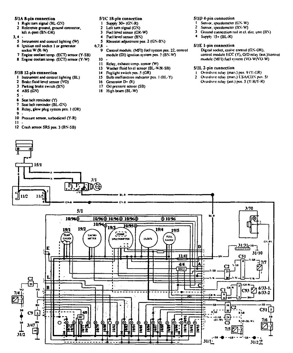
Volvo 940 1994 Wiring Diagrams Instrumentation

Volvo 940 1994 Wiring Diagrams Instrumentation

CTA Link →

sum+=1 -->