2013 Bmw 335I Gran Turismo



"First Drive: Series Gran Turismo By Henny Hemmes, VOLVO S60 T: BMW 550i xDrive Gran Turismo, i GT M Sport Gran Turismo 2013 Geneva Motor , A BMW Inspired by a Lamborghini The New York Times, i Gran Turismo First Drive Motor Trend, BMW 3er GT auf dem Autosalon Genf 2013: Crossover mit , Review: BMW 3 Series GT 2013 Honest John, BMW 335i Gran Turismo , Prezentare BMW seria 3 GT, BMW 335i GT M Sport DRIVING YouTube, BMW 3er GT F34: Mineralweiss Metallic mit Sport Line am , BMW 325i Touring UK spec E91 2006-08 wallpapers, BMW F32 4 Series with M Performance Parts Bimmerfest com, Oh Look BMW's Made Another Ugly GT Car Hello 3 Series GT, Imgchili Dolcemodz Star Hd Wallpaper For Your Desktop , Image: Series 4 door Sedan 335i RWD Instrument , BMW Seria 3 F30 F31 F34 Gran Turismo Dane techniczne "

First Drive 2014 Bmw 3 Series Gran Turismo By Henny Hemmes

First Drive 2014 Bmw 3 Series Gran Turismo By Henny Hemmes

Volvo S60 T6 Awd 2013 Bmw 550i Xdrive Gran Turismo

Volvo S60 T6 Awd 2013 Bmw 550i Xdrive Gran Turismo

2014 Bmw 335i Gt M Sport Gran Turismo 2013 Geneva Motor

2014 Bmw 335i Gt M Sport Gran Turismo 2013 Geneva Motor

A Bmw Inspired By A Lamborghini The New York Times

A Bmw Inspired By A Lamborghini The New York Times

2014 Bmw 335i Gran Turismo First Drive Motor Trend

2014 Bmw 335i Gran Turismo First Drive Motor Trend

Bmw 3er Gt Auf Dem Autosalon Genf 2013 Crossover Mit

Bmw 3er Gt Auf Dem Autosalon Genf 2013 Crossover Mit

Review Bmw 3 Series Gt 2013 Honest John

Review Bmw 3 Series Gt 2013 Honest John

Bmw 335i Gran Turismo :香港第一車網

Bmw 335i Gran Turismo :香港第一車網

Prezentare Bmw Seria 3 Gt

Prezentare Bmw Seria 3 Gt

Bmw 335i Gt M Sport Driving Youtube

Bmw 335i Gt M Sport Driving Youtube

Bmw 3er Gt F34 Mineralweiss Metallic Mit Sport Line Am

Bmw 3er Gt F34 Mineralweiss Metallic Mit Sport Line Am

Bmw 325i Touring Uk Spec E91 2006 08 Wallpapers

Bmw 325i Touring Uk Spec E91 2006 08 Wallpapers

Bmw F32 4 Series With M Performance Parts Bimmerfest Com

Bmw F32 4 Series With M Performance Parts Bimmerfest Com

Oh Look Bmw S Made Another Ugly Gt Car Hello 3 Series Gt

Oh Look Bmw S Made Another Ugly Gt Car Hello 3 Series Gt

Imgchili Dolcemodz Star Hd Wallpaper For Your Desktop

Imgchili Dolcemodz Star Hd Wallpaper For Your Desktop

Image 2010 Bmw 3 Series 4 Door Sedan 335i Rwd Instrument

Image 2010 Bmw 3 Series 4 Door Sedan 335i Rwd Instrument

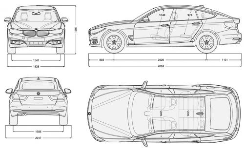
Bmw Seria 3 F30 F31 F34 Gran Turismo Dane Techniczne

Bmw Seria 3 F30 F31 F34 Gran Turismo Dane Techniczne

2007 Bmw X3 Exterior Pictures Cargurus

2007 Bmw X3 Exterior Pictures Cargurus

Image 2008 Bmw 3 Series 4 Door Sedan M3 Wheel Cap Size

Image 2008 Bmw 3 Series 4 Door Sedan M3 Wheel Cap Size

2008 Chrysler Crossfire Limited Coupe 2 Door 3 2l

2008 Chrysler Crossfire Limited Coupe 2 Door 3 2l

CTA Link →

sum+=1 -->